21, place du Marché Gayot
Place du Marché Gayot n° 21 – O 464 puis section 21 parcelle 25 (cadastre)
Réunie au n° 20 (1874) – Maison Boos (1876)

Ilot sud-est du Marché Gayot. Le n° 20 est la maison de droite
La partie qui correspond à l’ancien n° 21 est celle de droite sans pans de bois apparents
Quand la Ville attribue les nouvelles échoppes du Marché Gayot en 1771, le potier Jean Adam Hügelin loue une arcade qui donne à la fois sur le marché Gayot et sur la rue Baron ainsi que le grenier qui la surmonte. Il s’adresse la même année aux Quinze pour être autorisé à y vendre ses marchandises au lieu de les présenter au marché habituel place du Château. L’autorisation est accordée sur l’avis favorable du préteur royal malgré les réticences de la commission. Comme tous les autres locataires des échoppes du Marché Gayot, son fils lui aussi potier en achète la propriété en 1792 de la Ville. Marie Anne Hügelin acquiert en 1823 une boutique en forme d’arcade en bois surmontée d’une toiture et revend en 1831 une maison à rez de chaussée et deux étages.

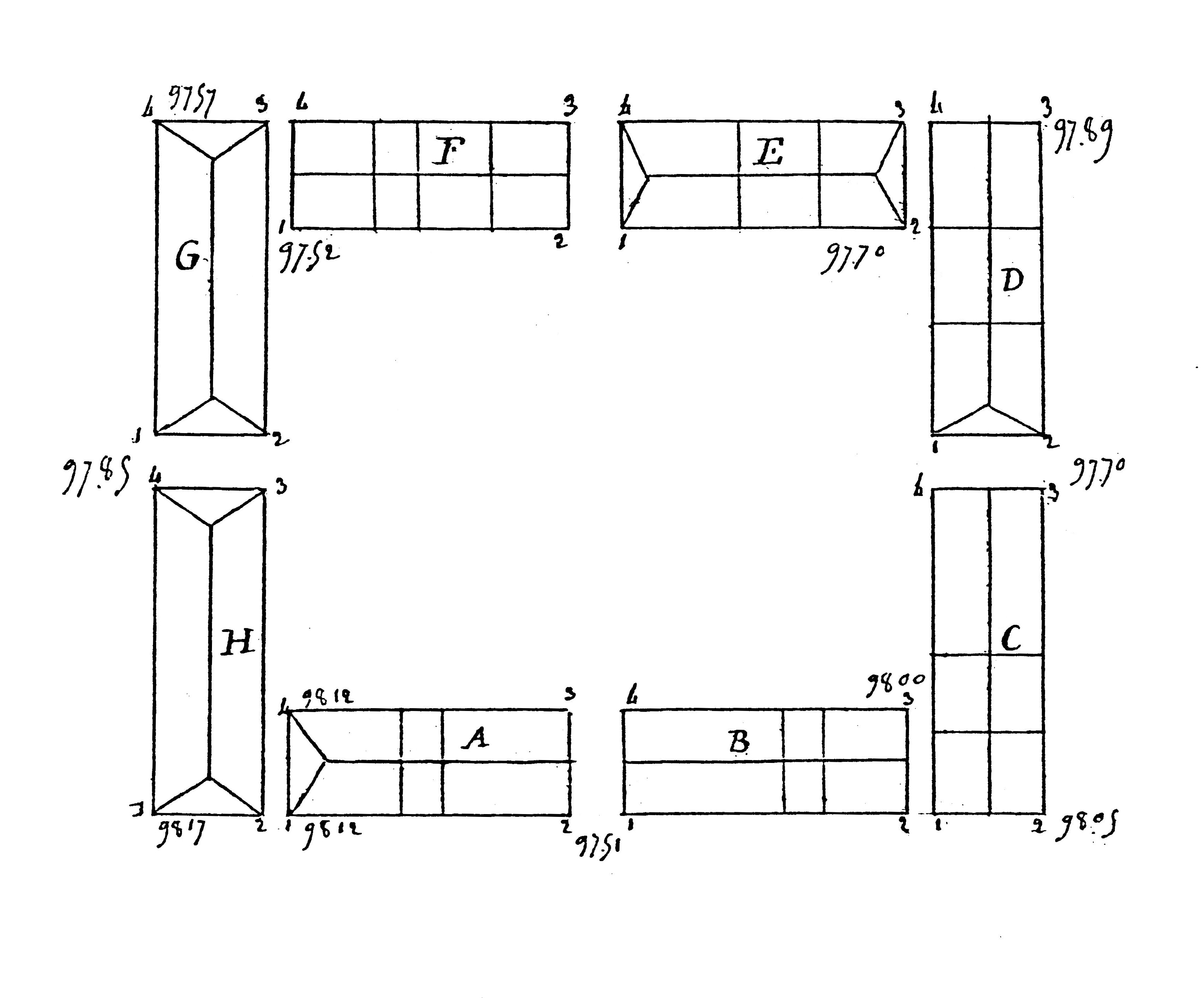
Elévations pour le plan-relief de 1830, îlot 204 bis (plan )
L’Atlas des alignements (années 1820) signale un bâtiment à rez-de-chaussée et un étage en bois. Les élévations préparatoires au plan-relief de 1830 (1) représentent l’état antérieur, une simple arcade de part et d’autre des repères (1-4). L’arcade à droite du repère (1) donne dans la rue du Chapon, celle à droite du repère (4) sur la place du marché, le pignon (1-4) dans la ruelle. La maison porte d’abord le n° 31 (1784-1857) puis le n° 21.
L’aubergiste Georges Boos acquiert la maison (1864) et la démolit en 1875 après avoir acheté la voisine. Il reconstruit un seul bâtiment en 1876.
Sommaire
Cadastre – Police du Bâtiment – Relevé d’actes
Récapitulatif des propriétaires
La liste ci-dessous donne tous les propriétaires de 1771 à 1874, de l’établissement du Marché Gayot à l’acquisition de la maison par le voisin. La propriété change par vente (v), par héritage ou cession de parts (h) ou encore par adjudication (adj). L’étoile (*) signale une date donnée par les registres du cadastre.
| 1771 | Jean Adam Hügelin, potier, et (1733) Anne Marie Klingelmeyer puis (1762) Anne Marie Kayser veuve de Joseph Fleck – catholiques | |
| 1786 | h | François Joseph Hügelin, potier, et (1786) Anne Kuenemann, remariée (1807) au potier Jacques Geringer – catholiques |
| 1823 | h | Marie Anne Hügelin |
| 1831 | v | Marie Françoise Deutscher femme (1816) du maçon François Juen Marie Madeleine Deutscher femme (1818) du jardinier Conrad Honoré Joseph Deutscher, jardinier, et (1814) Thérèse Wæchter |
| 1846 | h | Xavier Antoni, employé au tribunal civil puis antiquaire, et (1845) Marie Françoise Juen |
| 1859 | v | Laurent Gruber, marchand de bois |
| 1874* | Georges Boos, aubergiste |
Voir ensuite le 20, place du Marché Gayot
Valeur de la maison selon les billets d’estimation : 25 livres en 1785
(1843, Tableau indicatif du cadastre) O 464, Juen, François Antoine, entrepreneur de maçonnerie, rue du Renard Prêchant 70 – maison, sol – 0,24 are
Atlas des alignements (cote 1197 W 37)
4° arrondissement ou Canton est – Marché Gayot
nouveau N° / ancien N° : 6 / 31
veuve Hügel
Rez de chaussée et 1° étage médiocre en bois
(Légende)
Cadastre
Cadastre napoléonien, registre 24 f° 174 case 4
Juen François maître maçon rue du renard prêchant N° 70
O 464, maison, sol, marché gayot 20
Contenance : 0,24
Revenu total : 22,12 (22 et 0,12)
Ouvertures, portes cochères, charretières :
portes et fenêtres ordinaires : 12 / 10
fenêtres du 3° et au-dessus :
Cadastre napoléonien, registre 26 f° 79 case 1
Juen François maître maçon
1861 Gruber Laurent, Md. de Bois, rue St Marc 18
1865 Boos, Georges, Md. de farines
O 464, maison, sol, Marché Gayot 21
Contenance : 0,24
Revenu total : 22,12 (22 et 0,12)
Folio de provenance : (174)
Folio de destination : Abbruch 1875 – sol, f° 78
Année d’entrée :
Année de sortie : 1876 – sol, 1879
Ouvertures, portes cochères, charretières :
portes et fenêtres ordinaires : 12 / 10
fenêtres du 3° et au-dessus :
1876, Abgang – Boos Georg f° 79, O 464, maison, revenu 22, Abbruch, suppr. 1876
Voir ensuite le 20, place du Marché Gayot
1789, Enquête préparatoire à l’Etat des habitants (cote VII 1295)
Canton VI, (186) Rue Place Gayot
(maison n°) 31
Prop. Hügelin, Joseph, Potier – Maçons
1789, Etat des habitants (cote 5 R 26)
Canton VI Rue 186. Place Gayot (p. 294)
31
Prop. Hügelin, Joseph, Potier – Maçons
Relevé d’actes
Le potier Jean Adam Hügel (Hügelin) doit 6 livres 15 sols pour son échoppe qui donne sur la rue Baron
1771 (Marché Gayot, cote VII 1546) f° 61
Rue Baron
Hügel Johann Adam der Kachler soll Jahrs von seiner hütt auf Annunciationis Mariæ und Anno 1772 I.mo 6 lb 15 ß
Nb f° 97 a
Même loyer porté dans le registre suivant, pour une arcade qui donne à la fois sur le marché Gayot et sur la rue Baron et pour le grenier qui la surmonte
1780 ((Marché Gayot, cote VII 1547)
Baron gaß
f° 97 alte buch fol. 61
Johann Adam Hugel der Kachler soll jährlichen ane zinß von einem inhabenden in der Barongaß und Marché Gayot durchgehenden bogen auf den 25. mart., 6 lb 7 ß 6 d
Und von der bühn darüber Jahrs auf eodem, 6 ß zusammen 6 lb 15
Le potier Jean Adam Hügelin loue en 1771 une des échoppes au Marché Gayot que la Ville vient d’établir. Jean Adam Hügelin et Jean Balthasar Darm s’adressent en 1771 aux Quinze pour être autorisés à vendre leur marchandise dans les échoppes qu’ils ont acquises au Marché Gayot au lieu de les présenter au marché habituel place du Château. Les Quinze estiment que la coutume équivaut à un article de règlement et refusent de donner l’autorisation demandée.
Jean Adam Hügelin réitère sa demande l’année suivante. Certains potiers estiment qu’il serait utile de disposer d’un marché couvert. La commission est réticente à changer la coutume mais le préteur royal est d’avis d’infirmer la décision de l’année précédente, d’autoriser tous les poêliers à vendre leur marchandise dans leur maison ou leur échoppe et d’attribuer aux gens du métier des places au marché Gayot s’ils le demandent.
Lors de l’inventaire dressé après la mort de Jean Adam Hügelin, les experts de la Ville estiment le bâtiment à 25 livres, somme reprise à l’inventaire dressé en 1785 après la mort de sa veuve Marie Elisabeth Kaysser. Les héritiers cèdent en 1786 leurs parts à François Joseph Hügelin qui devient seul propriétaire de l’échoppe.
Le potier Joseph Hügel acquiert l’échoppe qu’il louait au Marché Gayot quand la Ville les vend à leur locataire respectif.
1792 (20.2.), Chambre des Contrats, vol. 666, n° 119 enreg. 29.2. F° -namens der gemeinde der Statt Straßburg H. Lt. Jacob Friedrich Brackenhoffer der municipal beamte und verwalter der Domaines, H. Lt. Frantz Ignatz Metz der municipal beamte und finantz verwalter, H. Lt. Johann Michael Mathieu der procurator gemelter gemeinde
an (…) Joseph Hügelin des haffners
(…) 14. H. Hügelin, einen der erwehnten gemeinde zuständig 6 quadrat claffter enthaltend zwischen denen pfeilen des Gayot marckts liegenden grund und boden worauf derselbe einseits ein eck gegen dem Saltzhaus ausmachend, anders. H. Ehalt, vornen gedachten Gayot marckt mit N° 31 bezeichnet, hinten die Baronengas stosend mit N° 2 marquirt gebäud stehen hat, samt denen davor stehenden pfeilen und dem darüber vorhandenen tachwerck und bühnlein, nebst 2/65 theil der ane der Baronengas zwischen Rust und Weinemer liegenden hinten an H. Widt dem handelsmann stosenden propheÿ, wovon einen jährlichen mietzins abgetragen, 140 livres
L’échoppe est estimée à son prix d’achat, soit 1200 livres tournois, à l’inventaire dressé en 1796 après la mort de François Joseph Hügelin. Lors de la liquidation, la boutique construite en arcade au marché brulé ci devant marché Gayot derrière le magasin à sel marquée du N° 2 et 31 revient aux enfants.
Elle ne figure pas sur les états de population dressés en 1795 et en 1798.
Les enfants Hügelin cèdent leurs part à la boutique à leur sœur célibataire Marie Anne Hügelin moyennant 400 francs
1823 (3.4.), Strasbourg 12 (91), Me Wengler n° 13 082 – Enregistrement de Strasbourg, acp 162 F° 73 du 7.4.
1. Marie Catherine Hügelin épouse de de François Joseph Imbs, peintre doreur, 2. Marie Barbe Hügelin femme de Ferdinand Sébastien Weinling, boulanger, 3. Joseph Hügelin poelier, 4. Jean Baptiste Hügelin, poelier à Colmar
à Marie Anne Hügelin, majeure
quatre cinquièmes par indivis d’une boutique construite en forme d’arcade, en bois, surmontée d’une toiture au Marché Gayot n° 2 et 31 derrière le magasin à sel, d’un côté la veuve Ehald marchand de farine, d’autre elle forme le coin d’une ruelle – aux vendeurs pour quatre cinquième, à l’acquéreuse l’autre cinquième de la succession de François Joseph Hügelin leur père selon l’inventaire dressé par Me Meyer le 20 brumaire IV – moyennant 400 francs
Marie Anne Hügelin vend 1 000 francs la maison à trois frères et sœurs, Marie Françoise Deutscher femme du maçon François Juen, Marie Madeleine Deutscher femme du jardinier Conrad Honoré et le jardinier Joseph Deutscher
1831 (28.6.), Strasbourg 12 (120), Me Noetinger n° 2985 – Enregistrement de Strasbourg, acp 204 f° 131 du 1.7.
Anne Marie Hügelin, majeure
1. Marie Françoise Teutscher épouse de François Juen, maçon, 2. Marie Madeleine Deutscher épouse de Conrad Honoré, jardinier, 3. Joseph Deutscher, jardinier, chacun pour un tiers
une maison à rez de chaussée et deux étages avec appartenances, droits et dépendances sise à Strasbourg Marché Cayot n° 2 et 31, d’un côté le Sr Fullwarth farinier, d’autre N, devant le Maché, derrière des des boutiques – bien propre pour un cinquième, pour quatre cinquièmes acquis de ses frères et sœurs par acte reçu Me Wengler le 3 avril 1823 [acte joint] de François Joseph Hügelin père dont ils étaient héritiers pour un cinquième chacun selon d’inventaire dressé par Me Meyer le 20 brumaire IV – moyennant 1000 francs
Joseph Deutscher épouse en 1814 Thérèse Wæchter originaire d’Altorff
Mariage, Strasbourg (n° 427)
Acte de mariage, le 8 décembre 1814, Joseph Henri Deutscher, majeur d’ans né en légitime mariage le 15 juillet 1784 à la Mairie de Strasbourg, domicilié en cette Mairie, jardinier, divorcé de Marie Eve Josephine Pfeiffer, fils de feu Jean Georges Deutscher, jardinier décédé à Strasbourg le 17 février année dernière et d’Anne Marie Naegel ci présente et consentante, Thérèse Waechter, majeure d’ans, née en légitime mariage le 27 septembre 1783 à Altorff (Bas Rhin) domiciliée à la mairie de Strasbourg fille de feu Ferdinand Waechter, valet décédé à Molsheim le 8 novembre 1809 et de feu Conégonde Westermann décédée à Altorff le 22 mars 1806 (…) ledit époux produit son acte de divorce dressé par Ensfelder (…) le 5 janvier 1810 enregistré le 9 suivant
Jardinier au Neuhoff, Joseph Deutscher meurt en délaissant deux filles, Marie Thérèse femme du jardinier Nicolas Bernhardt et Joséphine femme du maçon Georges Berg
1851 (10.9.), Me Grimmer (minutes en déficit)
Partage de la succession Joseph Deutscher Jardinier et Thérèse Waechter
entre 1° Marie Thérèse Deutscher épouse de Nicolas Bernhardt, jardinier, 2° Josephine Deutscher épouse de Georges Berg, Maçon, tous deux au Neuhoff, des immeubles cy après a eux échus dans les successions de leur père et mère nommés Joseph Deutscher, jardinier et Thérèse Waechter vivant conjoints au Neuhoff
Par ce partage il est échu à la De Bernhardt
Ban de Strasbourg 1° 31 ares de terres canton Kühnau estimés 300
2° 20 ares de terres dit canton estimés 200
3° 20 ares de terres canton Chastelain feld estimés 200
4° 101 ares de terres canton Mittelstengewand esitmés à 50 francs, ensemble 750 francs
et à ma De Berg est échu
1° 30 ares de terres canton Kühnau estimé 400
2° 20 ares de terres dit canton estimé 200
3° 20 ares de terres canton Chastelain feld estimés 200
4° 10 ares de terres canton Mittelstengewand esitmés à 50 francs, ensemble 850 francs
acp 403 (3 Q 30 118) f° 34 du 16.9.
Conrad Honoré épouse en 1818 Marie Madeleine Deutscher
Mariage, Strasbourg (n° 322)
Acte de mariage, le 30 septembre 1818, Conrad Dominique Nicolas Honoré, majeur d’ans, né en légitime mariage le 1 avril 1790 en la Mairie de Strasbourg domicilié en cette Mairie, jardinier pépiniériste, fils de Nicolas Honoré, jardinier pépiniériste en cette Mairie ci présent et consentant et de feu Marie Philippine Simon décédée en cette Mairie le 22 pluviose an 10 et Marie Madeleine Deutscher majeure d’ans née en légitime mariage le 27 octobre 1785 à Strasbourg domiciliée à Strasbourg, fille de feu Jean Georges Deutscher, jardinier décédé à Strasbourg le 17 février 1813 et d’Anne Marie Naegel ci présente et consentante – (signé) Conrad Dominique Nicolas Honoré, Maria Magdalen deutscher (i 16)
Originaire de Cappel en Tyrol, le maçon François Juen épouse en 1813 Françoise Deutscher
1816 (27.8.) Strasbourg 13 (32), Me Bremsinger n° 36 – Enregistrement de Strasbourg, acp 131 F° 69 du 31.8.
Contrat de mariage, communauté d’acquets – François Juen, maçon, demeurant à Strasbourg, natif de Cappel en Tirol, fils d’Antoine Juen et d’Anne Marie Baeder
Françoise Deutsch fille majeure de feu Georges Deutsch et de Marie Naegel
François Juen meurt en 1843 dans sa maison rue du Cumin en délaissant quatre enfants
1843 (28.3), Strasbourg 14 (115), Me Ritleng n° 13 474
Inventaire après le décès de François Juen, maître maçon
Cejourd’hui 28 mars 1843, trois heures de l’après midi. A la requête de dame Françoise Deutsch veuve du Sr François Juen, en son vivant maître maçon à Strasbourg ou elle demeure, agissant tant en son nom personnel à cause de la communauté de biens universelle qui avait existé entr’elle et son défunt mari, aux termes de leur contrat de mariage cy après analysé qu’à raison des avantages qui lui sont accordés aux termes du même contrat de mariage,
qu’en qualité de mère et tutrice légale de de ses trois enfants issus de son mariage avec le défunt savoir 1° François Antoine âgé de 19 ans, 2° Marie Louise agée de 15 ans & Jean Georges âgé de 12 ans,
2° de delle Marie Françoise Juen, majeure d’ans, domiciliés à Strasbourg.
En présence de Joseph Dablander, propriétaire domicilié à Strasbourg, agissant en qualité de subrogé tuteur desdits mineurs (…) il va être prpcédé à l’inventaire fidèle et description exacte de tous les biens meubles et immeubles, titres et papiers dépendant de la communauté dont il s’agit dans la maison où le St Juen est décédé le 21 janvier dernier (…)
Et a l’instant l veuve a représenté l’expédition du contrat de mariage passé entr’elle et le défunt devant Me Bremsinger alors notaire à Strasbourg le 7 août 1813
Total de l’estimation des meubles 392, garde robe 89, argent comptant, néant
Immeubles. Une Maison d’habitation, cour, écuries, bâtiment latéral et de derrière, appartenances et dépendances situés à Strasbourg rue du Cumin n° 17 d’un côté formant l’angle de la rue, de l’autre à Mad. Roederer, parderrière à Mr Lau et le jardin de la dite dame Roederer (…)
créances passives 1000, frais privilégiés 134
(signé) franzisca Deutscher, Maria Franciska Jung
Les copropriétaires vendent la maison 3 000 francs à Xavier Antoni, employé au tribunal civil, et à Marie Françoise Juen
1846 (23.6.), Strasbourg 14 (122), Me Ritleng n° 16 660
sont comparus De. Marie Françoise Teutscher veuve du Sr François Juen maçon, domiciliéé à Strasbourg, 2. De. Marie Madeleine Teutscher épouse assistée et autorisée de Mr. Conrad Honoré jardinier botaniste demeurant ensemble dans la banlieue de Strasbourg hors la porte d’Austerlitz, 3. Dame Marie Teutscher épouse assistée et autorisée de Mr. Nicolas Bernhard, jardinier, demeurant ensemble au Neuhof banlieue de Strasbourg, 4. Dame Joséphine Teutscher, épouse assistée & autorisée du Sr Georges Berg, Maçon, demeurant ensemble audit Neühof (vendent)
à M. Xavier Antoni, Employé au Tribunal civil de Strasbourg & Dame Marie Françoise Juen, son épouse
une Maison à rez de chaussée & deux étages avec appartenances & dépendances sise à Strasbourg Marché Gayot, marquée du n° 2 & 31, tenant d’un côté à une ruemmlle, de l’autre au Sr Füllwarth farinier, par devant le Marché par derrière la rue du Chapon. Cet immeuble appartient indivisément pour un tiers à la veuve Juen, pour autant à la Dame Honoré & pour le dernier tiers aux De Bernhard & Berh comme seules héritières ainsi qu’elles le déclarent de feu Joseph Teutscher leur père en son vivant jardinier à Strasbourg. Ces derniers avaient acquis le dit immeuble avec les Des Juen & Honoré de Dlle Anne Marie Hügelin majeure, demeurant à Strasbourg, suivant Contrat passé devant Me Noetinger & son Collègue le 28 juin 1830, enregistré et transcrit au bureau des hypothèques le 4 août suivant volume 247 numéro 71. cette vente avait été faite moyennant le prix de 1000 francs de principal (…) La Dlle Hügelin avait recueilli un cinquième de la Maison dans la succession de François Joseph Hügelin son père & en avait acquis les quatre autres cinquièmes de ses cohéritiers dans ladite succession suivant contrat passé devant Me Wengler ci devant notaire à Strasbourg le 3 avril 1823 – moyennant 3000 francs
Fille d’un des cessionnaires, Marie Françoise Juen épouse Xavier Antoni en 1845
Mariage, Strasbourg (n° 217)
Du 29 mai 1845, Acte de mariage de Xavier Antoni majeur d’ans né en légitime mariage le 26 mars 1815 à Strasbourg domicilié à Strasbourg, Employé au tribunal, fils d’Adam Antoni, maçon et de Ludwine Kessler, conjoints domiciliés en cette ville ci présente et consentante, et de Marie Françoise Juen, majeure d’ans, née en légitime mariage le 22 février 1822 à Strasbourg, domiciliée à Strasbourg fille de feu Antoine Juen, Maître Maçon décédé en cette ville le 21 janvier 1843 et de Marie Françoise Deutscher domiciliée en cette ville ci présente et consentante (signé) Xr. Antoni, Marie Juen ((i 16)
Pour lors antiquaire, Xavier Antoni et sa femme Marie Françoise Juen hypothèquent la maison au profit du cocher Mathieu Otzenberger de Paris
1856 (10.1.), Strasbourg 15 (94), Me Momy (Hippolyte)
Obligation – ont comparu Mr Xavier Antoni, Marchand d’antiquités et Dame Marie Françoise Juen, son épouse, de son mari autorisée, les deux demeurant et domiciliés ensemble à Strasbourg (devoir)
à Monsieur Mathieu Otzenberger, cocher demeurant à Paris pour lequel stipule et accepte M Pierre Schneider rentier demeurant à Strasbourg, la somme principale de 1200 francs
(hypothèquent) Une Maison à rez de chaussée ey deux étages avec appartenances et dépendances sise à Strasbourg marché gayot n° 2 et n° 31, tenant d’un côté à une ruelle, de l’autre au sieur Füllwarth farinier, par devant le marché par derrière la rue du chapon. Les époux Antoni déclarent que l’immeuble sus décrit est d’une valeur réelle de 6000 francs et qu’il est leur propriété légitime en vertu d’un contrat reçu par M Ritleng et son collègue notaires à Strasbourg le 23 juin 1846 enregistré et transcrit au bureau des hypothèques le 23 juin 1846 volume 446 n° 58 et ils affirment qu’à l’exception d’une inscription hypothécaire de 3000 francs, la maison sus décrite est franche et libre de toutes dettes et hypothèques généralement quelconques
La maison est mise en vente par les créanciers de Xavier Antoni. L’acquéreur est le marchand de bois Laurent Gruber
1859 (16. 7.br), Me Momy
Le 18 août – Cahier des charges pour parvenir à la vente d’une maison à Strasbourg Marché Gayot N° 31 dépendant de la faillite de Xavier Antoni, Md. d’antiquités à Strasbourg, dressé par le syndic de la faillite et ratifié par Antoni
acp 480 (3 Q 30 195) f° 72-v du 20.8.
Le 16. 7.br – Adjudication définitive à la requête d’Eugène Remond ancien greffier à Strasbourg, en qualité de syndic de la faillite de Xavier Antoni
au profit de Laurent Gruber, marchand de bois de chauffage à Strasbourg moyennant 4300 francs
acp 481 (3 Q 30 196) f° 61 du 26. 7.br